Spectrum Analyzer Measurement Guide, Legacy : Interference Analyzer (Option 25) : Interference Analyzer (IA) Menus

Interference Analyzer (IA) Menus
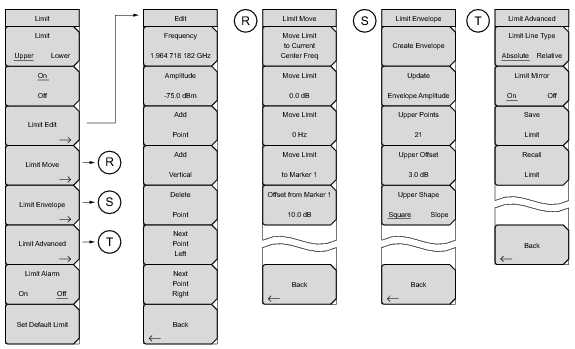
Figure 4‑14 though Figure 4‑20 show the map of the Interference Analyzer menus. The following sections describe IA main menus and associated submenus. The submenus are listed in the order they appear on the display from top to bottom under each main menu.
 
 
 
 
 
 
 
 
 
 
 
 
 

Copyright 2011 Anritsu Company
Anritsu Company
1800-ANRITSU
10450-00034, Rev. A
mmdtechpubs@anritsu.com