Remote Spectrum Monitors : MS27101A Installation : Side-by-Side Unit Rack Mounting
 
Side-by-Side Unit Rack Mounting
This section explains how to fit two MS27101A remote spectrum monitors into an instrument rack using the side-by-side mounting brackets.
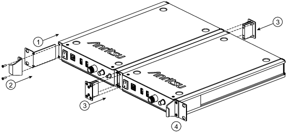
1. Prepare both MS27101A instruments by removing the front panel handles and inside rear panel screws as shown in Figure: Preparing the MS27101A for Side-by-Side Rack Mounting (1 and 2). Retain the screws.
2. Assemble the inside mounting bracket as shown in Figure: Preparing the MS27101A for Side-by-Side Rack Mounting (3)
Preparing the MS27101A for Side-by-Side Rack Mounting
3. Slide the mounting brackets into the aluminum extrusions as shown in Figure: Installing the MS27101A Side-by-Side Mounting Brackets (1 and 3), then reinstall the front panel handles (2 and 4) using the same screws that were removed in Step 1.
Installing the MS27101A Side-by-Side Mounting Brackets
4. Install finished assembly into the rack mount per the cabinet manufacturers instructions.